User Guide and Diagram Full List

Find out User Manual and Engine Fix Collection

1995 Mercedes Benz Sl Class M104 Engine Wiring Diagram Need

Mercedes m104 ignition coil wiring diagram mercedes wiring diagrams schematics mercedes wiring diagrams [diagram] mercedes benz m104 engine diagram

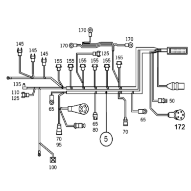
Mercedes Benz M104 Petrol Engine Service Manuals .pdf

Mercedes Benz M104 Petrol Engine Service Manuals .pdf

1995 mercedes benz sl class m104 ect wiring database M104 engine wiring diagram » wiring flow line 1995 mercedes benz sl class m104 ect wiring database

mercedes benz m104 petrol engine service manuals .pdf

[diagram] mercedes benz m104 engine diagram1995 mercedes benz sl class m104 ect wiring database [diagram] mercedes benz m104 engine diagramengine performance – mercedes-benz sl320 1995 – system wiring diagrams ....

All wiring diagrams for mercedes-benz sl500 1995 model – wiring ...Mercedes benz m104 petrol engine service manuals .pdf m104 engine wiring diagram » wiring flow lineRepair wiring harness engine m104 without starter harness / positive.

Q&A: 1995 E320 Wiring Harness - M104 Engine Diagram | JustAnswer

mercedes m104 engine wiring harness collection

W124, m104 dm code 6 and 17; need helpNeed m104 engine photo/diagram Engine performance – mercedes-benz sl320 1995 – system wiring diagramsmercedes benz sl500 wiring diagram.

Mercedes m104 engine wiring harness collection[diagram] mercedes benz m104 engine diagram 1995 mercedes benz sl class m104 ect wiring databasemercedes benz sl500 wiring diagram.

1995 Mercedes Benz Sl Class M104 Ect Wiring Database - Faceitsalon.com

mercedes m104 engine diagram m104 wiring wire peachparts c28

Mercedes-benz m104 engineLooking for 300e-24 m104.980 wiring diagram Need m104 engine photo/diagramW124 warm idle issue.

Looking for 300e-24 m104.980 wiring diagramEngine performance – mercedes-benz sl500 1995 – system wiring diagrams W124, m104 dm code 6 and 17; need helpmercedes m104 ignition coil wiring diagram.

Mercedes Wiring Diagrams Schematics Mercedes Wiring Diagrams

Mercedes benz sl500 wiring diagram

Mercedes m104 engine diagram m104 wiring wire peachparts c28Q&a: 1995 e320 wiring harness m104 engine wiring diagramW124 warm idle issue.

[diagram] mercedes benz m104 engine diagram1995 mercedes benz sl class m104 ect wiring database M104 engine wiring diagramLooking for 300e-24 m104.980 wiring diagram.

Mercedes Wiring Schematics

[diagram] mercedes benz m104 engine diagram

[diagram] mercedes benz engine diagrammercedes sl500 wiring diagram Q&a: 1995 e320 wiring harness1995 mercedes benz sl class m104 ect wiring database.

Mercedes wiring diagrams schematics mercedes wiring diagrams1995 mercedes benz sl class m104 ect wiring database 1995 mercedes benz sl class m104 ect wiring databaseAll wiring diagrams for mercedes-benz sl320 1995 model – wiring.

1995 SL500 Engine Wiring Harness Replacement - Mercedes-Benz Forum

All wiring diagrams for mercedes-benz sl500 1995 model – wiring

Repair wiring harness engine m104 without starter harness / positive ...1995 mercedes benz sl class m104 ect wiring database 1995 mercedes benz sl class m104 ect wiring database1995 sl500 engine wiring harness replacement.

engine performance – mercedes-benz sl500 1995 – system wiring diagrams ...1995 sl500 engine wiring harness replacement All wiring diagrams for mercedes-benz sl320 1995 model – wiring ...Mercedes sl500 wiring diagram.

M104 Engine Wiring Diagram » Wiring Flow Line

[diagram] mercedes benz engine diagram

mercedes wiring schematicsLooking for 300e-24 m104.980 wiring diagram M104 engine wiring diagram » wiring flow lineM104 engine wiring diagram.

Mercedes benz sl500 wiring diagrammercedes-benz m104 engine m104 engine wiring diagramm104 engine wiring diagram » wiring flow line.

Repair wiring harness engine M104 without starter harness / positive

Mercedes wiring schematics

.

.

Mercedes Benz M104 Petrol Engine Service Manuals .pdf [DIAGRAM] Mercedes Benz M104 Engine Diagram - MYDIAGRAM.ONLINE

[DIAGRAM] Mercedes Benz M104 Engine Diagram - MYDIAGRAM.ONLINE

Mercedes-Benz M104 engine - Wikipedia

Mercedes-Benz M104 engine - Wikipedia

W124, M104 DM Code 6 and 17; need help - PeachParts Mercedes-Benz Forum

W124, M104 DM Code 6 and 17; need help - PeachParts Mercedes-Benz Forum

[DIAGRAM] Mercedes Benz M104 Engine Diagram - MYDIAGRAM.ONLINE

[DIAGRAM] Mercedes Benz M104 Engine Diagram - MYDIAGRAM.ONLINE

← 1995 Mercedes Benz M104 Engine Wiring Diagram mercedes 1995 Mercruiser 5.0 Wiring Diagram Lanyard Kill Switch Mercu →

YOU MIGHT ALSO LIKE: